【产品说明】
J21H、J21W 型 PN25、PN40、PN160型外螺纹截止阀:手动、外螺纹连接形式、直通式结构,阀座密封面材料为不锈钢、工作压力 2.5~4.0 MPa、公称尺寸 DN6~DN20、阀体材料为碳素钢(J21H)、不锈钢(J21W),适用于水、蒸汽、油品(J21H)和弱腐蚀性、腐蚀性(J21W)介质管路中。
J21H、J21W 型 PN25 PN40 PN160外螺纹截止阀主要性能参数:
|
型号 |
PN |
工作压力 / MPa |
适用温度 / ℃ |
适用介质 |
|
J21H-25 |
25 |
2.5 |
≤ 425 |
水、蒸汽、油品 |
|
J21H-40 |
40 |
4 |
||
|
J21W-25P |
25 |
2.5 |
≤ 150 |
弱腐蚀性介质 |
|
J21W-40P |
40 |
4 |
||
|
J21W-25R |
25 |
2.5 |
腐蚀性介质 |
|
|
J21W-40R |
40 |
4 |
||
|
21H-160 |
160 |
16 |
小于 425 |
水、蒸汽、油品等无腐蚀性介质 |
|
J21W-160P |
小于 150 |
铬镍钛不锈钢 |
||
|
J21W-160R |
|
J21H、J21W 型 PN25 PN40 外螺纹截止阀零部件材料:
|
型号 |
材料 |
|||
|
阀体、阀盖 |
阀杆 |
密封面 |
填料 |
|
|
J21H-25 |
碳素钢 |
铬不锈钢 |
铬不锈钢 |
柔性石墨 |
|
J21H-40 |
||||
|
J21W-25P |
铬镍钛不锈钢 |
铬镍钛不锈钢 |
铬镍钛不锈钢 |
聚四氟乙烯 |
|
J21W-40P |
||||
|
J21W-25R |
||||
|
J21W-40R |
||||
J21H、J21W 型 PN160 外螺纹截止阀零部件材料:
|
型号 |
材料 |
||||
|
阀体、阀盖 |
阀杆、阀瓣、阀座 |
阀杆螺母 |
填料 |
手轮 |
|
|
J21H-160 |
碳素钢锻件 |
铬不锈钢 |
铸铝青铜 |
石棉石墨 |
球磨铸铁 |
|
J21W-160P |
铬镍钛不锈钢 |
铬镍钛不锈钢 |
聚四氟乙烯 |
||
|
J21W-160R |
铬镍钼钛不锈钢 |
铬镍钼钛不锈钢 |
|||
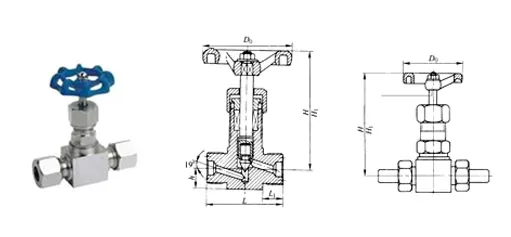
J21H、J21W 型 PN25 PN40 外螺纹截止阀外形及结构尺寸 (mm):
|
DN |
L |
H |
D0 |
D |
重量 / kg |
|
6 |
175 |
120 |
65 |
6 |
0.75 |
|
10 |
179 |
125 |
80 |
10 |
1 |
|
15 |
187 |
135 |
100 |
15 |
1.6 |
|
20 |
193 |
177 |
130 |
20 |
2.7 |
J21H、J21W 型PN120外螺纹截止阀外形及结构尺寸 (mm):
|
DN |
L |
L1 |
h |
H |
H1 |
D0 |
|
6 |
60 |
15 |
15 |
85 |
91 |
65 |
|
10 |
60 |
15 |
15 |
89 |
99 |
65 |
|
15 |
60 |
15 |
15 |
100 |
115 |
65 |
